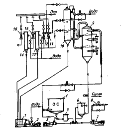
Технологическая схема производства спирта из зерна - найдено 59 изображений
Смотреть видео: Технологическая схема производства спирта из зерна
Найдено изображений: 59
Смотрите также
- Биология 7 класс распечатать
- Как снять головку 402
- Видеодомофон схема с контроллером
- Жена стаса михайлова фото 2025
- Календарь на 2025 год как отдыхаем
- Как снять ремень безопасности на приоре
- Где находится масса ваз 21099 инжектор
- Как снять шрус с привода тойота
- Автор называет духовные ценности приведите примеры
- Буквы на листе а4 распечатать красивые черные
- Биография сергея наговицына причина смерти личная жизнь
- Как снять форсунки с лифан икс 60
- Актриса татьяна максимова биография и личная жизнь
- Технологическая карта урока насекомые
- Фото девушки димы гордея
- Проект въезда в город
- Печеночные оладьи пошагово с фото
- Цетрин камень магические свойства фото
- Рр356 регулятор напряжения схема подключения
- Целые числа это какие числа примеры
