Скачать чертеж винт домкрата - найдено 30 изображений

Смотреть видео: Скачать чертеж винт домкрата



Найдено изображений: 30

Скачать чертеж винт домкрата
13-00 Домкрат гидровинтовой - Форум
RU12566U1 - SCREW TELESCOPIC JACK
Винтовой домкрат - как не запутаться в моделях и сделать выбор? + видео
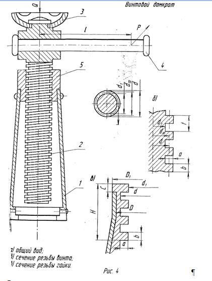
Винтовой домкрат грузоподъемностью 42 кН при максимальной высоте подъема H = 400
Винтовой домкрат своими руками чертежи фото и видео - avRussia.ru
Винтовой домкрат чертеж
ВКР Проект организации ТО с разработкой поста текущего ремонта автомобилей в сел
Все о ромбических домкратах - строительный инструмент, применение, особенности
Грузоподъемные машины - презентация онлайн
Домкрат винтовой
Домкрат винтовой: устройство, разновидности, применение, выбор
Домкрат винтовой: устройство, разновидности, применение, выбор
Домкрат винтовой: устройство, разновидности, применение, выбор
Домкрат винтовой: устройство, разновидности, применение, выбор
Домкрат подкатной своими руками чертежи (60 фото) - красивые картинки и HD фото
Домкрат Техдиплом
Домкрат чертеж (70 фото) - красивые картинки и HD фото
Домкрат чертеж - Дом Мебели.ру
Как разобрать винтовой домкрат: все виды поломок и их устранение - Официальная п
Компас Чертежи
Лопасти для винтовых свай. Производство и продажа в СПб способ
Методика расчёта винтового домкрата - Студопедия.Нет
Описание устройства винтового домкрата
Расчет домкратов. Реферат. Технология машиностроения. 2011-02-28
Расчет передачи винт-гайка на примере домкрата в Excel Блог Александра Воробьева
Роблю креслення Основной альбом - Фотография 11 из 12 ВКонтакте
СБ-Z11V4-00 - Домкрат - чертеж
Сборочные чертежи - Страница 4 - Форум
Чертеж домкрата