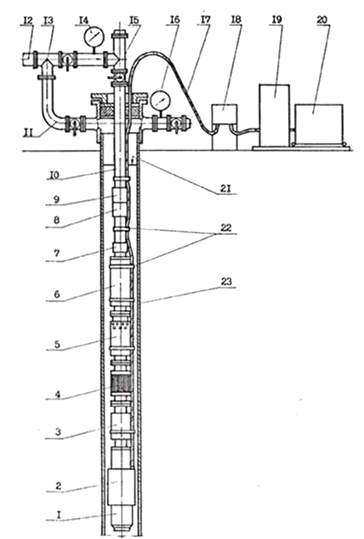
Схема установки электроцентробежного насоса - найдено 30 изображений
Смотреть видео: Схема установки электроцентробежного насоса
Найдено изображений: 30
Смотрите также
- Актер бойко ярослав фото
- Кадр из российского кино
- Как выглядит настоящий хаги ваги
- Датчик уровня рос схема подключения
- Какие виды графики существуют в искусстве
- Где находится датчик детонации мазда 3
- Future phone московская ул 6 фото
- Жанр ода на примере двух произведений
- Камаз 63501 как снять рулевой кардан
- Где номер двигателя ваз 2107 инжекторная находится
- Рост в армии таблица
- Сальтисон в домашних условиях фото
- Сон детей по возрасту таблица
- Проект невербальное общение 9 класс
- Схемы регуляторов напряжения на tl494
- Опель астра блок предохранителей моторном
- Фото тюнинга волга газ 21
- Примеры слов с частями скоп
- Огэ по математике 22 задание примеры
- Отделение оториноларингологии просп бардина 30 фото
